Overview
On September 12, Apple held its fall event at the Steve Jobs Theater and announced iPhone X, iPhone 8/8 Plus, a 4K Apple TV, and Apple Watch Series 3. The iPhone X, released for the tenth anniversary, uses an OLED full-screen display (81.15% screen-to-body ratio), integrates a 64-bit A11 chip and an embedded M11 motion coprocessor, removes the Home button, and adopts Face ID for unlocking.
Some commentators noted limited visible novelty in the industrial design, pointing out the trend toward full-screen layouts, dual cameras, and wireless charging seen across vendors, and criticizing the display notch on aesthetic grounds. From a technical perspective, however, Apple’s AI and AR strategy behind iPhone X warrants attention.
The following summarizes the key technical points.
Face ID: Necessity or a New Design Strategy?
Conflict Between Full-Screen Displays and Fingerprint Sensors
Since late 2016, driven by vendors such as Samsung, Xiaomi, and LG, smartphone displays have trended toward taller aspect ratios such as 18:9, 18.5:9, 19:9, and 20:9. Devices like the Xiaomi MIX and Samsung S8 popularized high screen-to-body ratio "full-screen" designs.
Full-screen design is not simply replacing a larger display panel. It is a system-level redesign of the panel and components such as fingerprint sensors, receivers, front cameras, and antennas, which will drive changes across mobile component suppliers.
The mainstream fingerprint solution in smartphones is capacitive sensing. Its signal cannot reliably penetrate glass thicker than about 0.3 mm. As a result, in the full-screen era fingerprint sensing has two practical alternatives: rear-mounted sensors, which degrade user experience, or under-display sensors. Under-display solutions include optical and ultrasonic approaches, but each has maturity or integration challenges.
3D Vision: Years in the Making
Face ID Features
In May 2017, Business Insider reported that Apple had more than 1,000 engineers working on 3D camera research and development.
At the event, Apple showed that iPhone X can wake the screen by raising the device or tapping it, and uses neural network-based algorithms and A11’s neural engine combined with the TrueDepth depth-sensing camera system above the display. The infrared emitter projects about 30,000 detection points, enabling Apple to implement Face ID with an error rate reportedly lower than one in one million.
Face ID represents a milestone application of Apple’s 3D vision work and reflects roughly seven years of strategic development: acquiring companies with relevant technologies, building an ecosystem, and filing and optimizing patents.
Apple’s 3D Vision Ecosystem and Acquisitions
Apple acquired PrimeSense, a pioneer in structured light depth sensing and a technology provider behind the first Microsoft Kinect. Apple also acquired companies focused on multi-camera technology, facial expression tracking, emotion recognition, mobile computer vision, and facial recognition, including Linx, Faceshift, Emotient, Flyby Media, and RealFace. These acquisitions helped Apple assemble capabilities for miniaturized 3D sensing and related software.

2015 Apple Patent: 3D Gesture Control
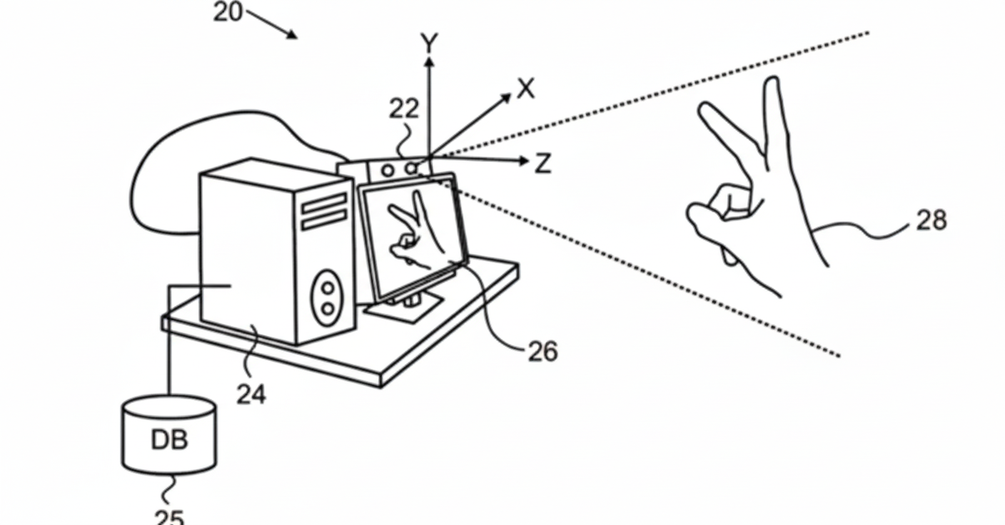
In April 2015, the U.S. Patent and Trademark Office published an Apple patent for 3D gesture control, describing a machine vision system capable of accurately recognizing hand gestures. The system can use specialized algorithms to precisely identify user gestures.
2015 Apple Patent: Identifying Objects in Video via Gestures
In October 2015, Apple filed additional patents related to hand gestures and facial recognition. These patents describe interactions where, during video-based applications, a user can use simple gestures to select and save objects from video frames to local storage, a capability that relies on 3D vision techniques.

2016 Apple Patent: 3D Gesture-Recognition System Diagram
In July 2016, Apple published a patent for a 3D gesture-control system, describing a 3D image projector embedded in an iOS device such as an iPhone that can recognize hand gestures. This concept could enable gestures to act as game controls or other input controllers.

2015 Apple Patent: Low-Barrier Face Recognition
(Patent heading translated; original document references a low-barrier face-recognition patent filed in 2015.)